DES ( Data Encryption Standard)
DES (Data Encryption Standard) adalah algoritma cipher blok yang populer karena dijadikan standard algoritma enkripsi kunci-simetri, meskipun saat ini standard tersebut telah digantikan dengan algoritma yang baru, AES, karena DES sudah dianggap tidak aman lagi. Sebenarnya DES adalah nama standard enkripsi simetri, nama algoritma enkripsinya sendiri adalah DEA (Data Encryption Algorithm), namun nama DES lebih populer daripada DEA. Algoritma DES dikembangkan di IBM dibawah kepemimpinan W.L. Tuchman pada tahun 1972. Algoritma ini didasarkan pada algoritma Lucifer yang dibuat oleh Horst Feistel. Algoritma ini telah disetujui oleh National Bureau of Standard (NBS) setelah penilaian kekuatannya oleh National Security Agency (NSA) Amerika Serikat.
DES termasuk ke dalam sistem kriptografi simetri dan tergolong jenis cipher blok. DES beroperasi pada ukuran blok 64 bit. DES mengenkripsikan 64 bit plainteks menjadi 64 bit cipherteks dengan menggunakan 56 bit kunci internal (internal key) atau upa-kunci (subkey). Kunci internal dibangkitkan dari kunci eksternal (external key) yang panjangnya 64 bit.
Gambar 6.1 Skema global algoritma DES
Skema global dari algoritma DES adalah sebagai berikut (lihat Gambar 6.1):
1. Blok plainteks dipermutasi dengan matriks permutasi awal (initial permutation atau IP).
2. Hasil permutasi awal kemudian di-enciphering- sebanyak 16 kaH (16 putaran). Setiap putaran menggunakan kunci internal yang berbeda.
3. Hasil enciphering kemudian dipermutasi dengan matriks permutasi balikan (invers initial permutation atau IP-1 ) menjadi blok cipherteks.
Di dalam proses enciphering, blok plainteks terbagi menjadi dua bagian, kiri (L) dan kanan R), yang masing-masing panjangnya 32 bit. Kedua bagian ini masuk ke dalam 16 putaran DES. Pada setiap putaran i, blok R merupakan masukan untuk fungsi transformasi yang ;isebut f. Pada fungsi f, blok R dikombinasikan dengan kunci internal K,. Keluaran dai =angsi f di-XOR-kan dengan blok L untuk mendapatkan blok R yang baru. Sedangkan blok - yang baru langsung diambil dari blok R sebelumnya. Ini adalah satu putaran DES. Secara watematis, satu putaran DES dinyatakan sebagai
Li=Ri-1 (6.1)
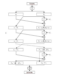
Gambar 6.3 memperlihatkan skema algoritma DES yang lebih rinci. Satu putaran DES merupakan model jaringan Feistel (lihat Gambar 6.2). Perlu dicatat dari Gambar 6.2 bahwa ika (L,6, R,6) merupakan keluaran dari putaran ke-16, maka (R,6, L,s) merupakan pra:ipherteks (pre-ciphertext) dari enciphering ini. Cipherteks yang sebenarnya diperoleh dengan melakukan permutasi awal balikan, IP-1, terhadap blok pra-cipherteks.
Gambar 6.2. Jaringan Feistel untuk satu putaran DES
Gambar 6.3 Algoritma Enkripsi dengan DES Permutasi Awal
Sebelum putaran pertama, terhadap blok plainteks dilakukan permutasi awal (initial-permutation atau IP). Tujuan permutasi awal adalah mengacak plainteks sehingga urutan bit-bit di dalamnya berubah. Pengacakan dilakukan dengan menggunakan matriks permutasi awal berikut ini:

Cara membaca tabel/matriks: dua entry ujung kiri atas (58 dan 50) artinya:
"pindahkan bit ke-58 ke posisi bit 1"
"pindahkan bit ke-50 ke posisi bit 2", dst
Pembangkitan Kunci Internal
Karena ada 16 putaran, maka dibutuhkan kunci internal sebanyak 16 buah, yaitu K,, Kz, ...,K16. Kunci-kunci internal ini dapat dibangkitkan sebelum proses enkripsi atau bersamaan dengan proses enkripsi. Kunci internal dibangkitkan dari kunci eksternal yang diberikan oleh pengguna. Kunci eksternal panjangnya 64 bit atau 8 karakter.
Misalkan kunci eksternal yang tersusun dari 64 bit adalah K. Kunci eksternal ini menjadi masukan untuk permutasi dengan menggunakan matriks permutasi kompresi PC- 1 sebagai berikut:
Dalam permutasi ini, tiap bit kedelapan (parity bit) dari delapan byte kunci diabaikan. Hasil 7-ermutasinya adalah sepanjang 56 bit, sehingga dapat dikatakan panjang kunci DES adalah 56 bit. Selanjutnya, 56 bit ini dibagi menjadi 2 bagian, kiri dan kanan, yang masing-masing nanjangnya 28 bit, yang masing-masing disimpan di dalam Co dan DO:
CO: berisi bit-bit dari K pada posisi
57, 49, 41, 33, 25, 17, 9, 1, 58, 50, 42, 34, 26, 18
10, 2, 59, 51, 43, 35, 27, 19, 11, 3, 60, 52, 44, 36
Do: berisi bit-bit dari K pada posisi
63, 55, 47, 39, 31, 23, 15, 7, 62, 54, 46, 38, 30, 22
14, 6, 61, 53, 45, 37, 29, 21, 13, 5, 28, 20, 12, 4
Selanjutnya, kedua bagian digeser ke kiri (left shift) sepanjang satu atau dua bit bergantung pada tiap putaran.











0 komentar:
Post a Comment